您好,欢迎来到云浮市知识产权交易运营服务平台
登录
注册
退出登录
全国服务热线:
0766-8820979
搜索
专利交易
|
商标版权交易
|
登录
注册
首页
技术服务/转移
技术转移
技术服务
技术经纪人
专利交易
专利转让
专利许可
商标交易
开放许可专区
资讯中心
新闻政策
行业动态
成功案例
关于我们
资料下载
专利
商标
政府
院所
高校
其他
搜索
热门搜索:
机械工程
|
太阳能
|
人工智能
|
虚拟技术
|
首页
-
专利交易
-
专利转让
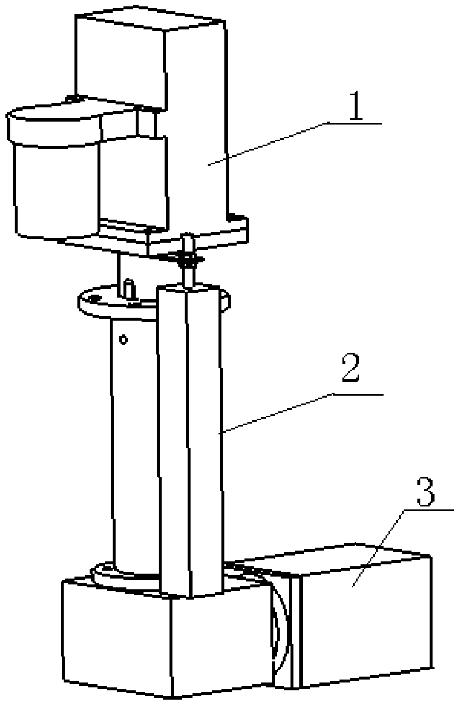
石材大板采集系统上应用的相机调节装置
专利摘要:价格面议和索取专利摘要
¥
面议
申请号/专利号:CN201620019896.2
专利权人:云浮市科特机械有限公司
申请日:2016-01-06
技术领域: 机械
免费咨询
收藏
详细资料
名称:
石材大板采集系统上应用的相机调节装置
专利号:
CN201620019896.2
技术领域:
机械
IPC分类号:
权属人所属地域:
合作方式:
同意公开需求信息
是
否
部分
同意接受专家服务
是
否
成果介绍/技术详情
专利推荐
暂无信息
专利交易申请
*
服务类型:
专利交易申请
*
申请领域:
*
需求方名称:
所属行业:
社会统一信用代码:
单位类型:
*
联系人及职务:
*
联系电话:
QQ号码:
Email:
通讯地址:
*
同意公开需求信息:
同意接受专家服务:
项目编号
标题
订单进度
订单类别
所属会员
服务类型
在线客服