
一种钽/不锈钢储能焊用中间层合金及其制备方法与焊接方法
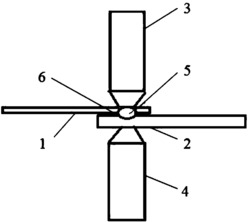
专利摘要:本发明公开了一种钽与不锈钢储能焊用中间层合金及其制备方法与两种异质金属的焊接方法。在待焊钽与钢板材之间放置一定厚度的中间层合金箔材,采用储能焊方式进行焊接操作,使得界面电阻热熔化中间层合金及局部母材,实现钽/钢的高性能焊接。本发明还公开了上述方法中的中间层合金,由以下组分按原子百分比组成,其中Ta为5%~10%,Fe为5%~10%,Ni为20%~25%,Cr为15%~23%,Cu为15%~22%,Co为20%~25%。本发明的方法及其中间层合金,在焊接时与钽及不锈钢的匹配性好、熔核为单相Fcc固
¥面议
- 申请号/专利号:201811015057.3
- 专利权人:西安理工大学
- 申请日:2018-08-31
- 技术领域:
- 免费咨询
- 收藏
详细资料
- 名称:一种钽/不锈钢储能焊用中间层合金及其制备方法与焊接方法
- 专利号:201811015057.3
- 技术领域:
- IPC分类号:
- 权属人所属地域:
- 合作方式:
-
同意公开需求信息
是 否 部分
-
同意接受专家服务
是 否
成果介绍/技术详情
专利推荐
-
暂无信息
